光电耦合器,是近几年发展起来的一种半导体光电器件,由于它具有体积小、寿命长、抗干扰能力强、工作温度宽及无触点输入与输出在电气上完全隔离等特点,被广泛地应用在电子技术领域及工业自动控制领域中,它可以代替继电器、变压器、斩波器等,而用于隔离电路、开关电路、数模转换、逻辑电路、过流保护、长线传输、高压控制及电平匹配等。
为使读者了解与应用光电耦合器,今介绍几种光电耦合器件及应用电路,供大家参考与开拓。
1.器件选择
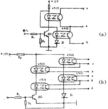
(1)三极管输出型光电耦合器
三极管输出型光电耦合器电路如图46—1中(a)所示,它是由两部分组成的。其中,1、2端为输入端,通常由发光器件构成;4、5、6端接一只光敏三极管构成输出端,当接收到发射端发出的红外光后,在三极管集电极中便有电流输出。

图46-1
三极管输出型光电耦合器的特点,是具有很高的输入输出绝缘性能,频率响应可达300kHz,开关时间数微秒。
(2)可控硅输出型光耦合器
可控硅输出型光耦合器的电路如图46-1中(b)所示。该器件为六脚双列式封装。当1、2端加入输入信号后,发射管发出的红外光被接在4、5、6脚的光敏可控硅接收,使其导通。它可应用在低电压电子电路控制高压交流回路的开启。
(3)光耦合的可控硅开关驱动器
图46—2中(a)为光敏双向开关器件;图46?中(b)为过零控制电路及光敏双向开关器件组合体。它们的工作原理是:利用输入端红外光控制输出端的光敏双向开关导通,进而触发外接双向可控硅导通,达到控制负载接入交流220V回路的目的。图中(a)为非过零控制,图中(b)为过零控制。本驱动器有非常好的输入与输出绝缘性,可构成固态继电器的控制电路,其输出的控制功率由可控允许功率决定。

图46-2
(4)达林顿管输出的光检测器
达林顿管输出的光检测器如图46-2中(a)所示。它是由两只管子组成复合管,具有很高的电流放大能力,形成下一级或负载的驱动电流,有较强的光检测灵敏度。
(5)数字电路光耦合器
数字电路光耦合器电路如图46-2中(b)所示。光耦合器输出为施密特触发电路形式,其特点是响应速度快、数字逻辑可靠,应用于计算机接口、数控电源及电动机控制中。
(6)双向开关触发器输出的光检测器
图46—3中的(c)为双向开关触发器输出的光检测器电路。该图为三端器件,内部是光敏双向开关器件,收到红外光线后,双向开关器件导通,触发外接可控硅导通,使负载接入220V回路中。

图46-3
2.应用电路
(1)开关电路
对于开关电路,往往要求控制电路和开关电路之间要有很好的电隔离,这对于一般的电子开关来说是很难做到的,但采用光电耦合器就很容易实现了。图46-3中(a)所示电路就是用光电耦合器组成的简单开关电路。
在图中,当无脉冲信号输入时,三极管BG处于截止状态,发光二极管无电流流过不发光,则a、b两端电阻非常大,相当于开关“断开”。当输入端加有脉冲信号时,BG导通,发光二极管发光,则a、b两端电阻变得很小,相当于开关“接通”。故称无信号时开关不通,为常开状态。
图46—4中(b)所示电路则为“带闭”状态,因为无信号输入时,虽BG截止,但发光二极管有电流通过而发光,使a、b

图46-4
两端处于导通状态,相当于开关“接通”。当有信号输入时,BG导通,由于BG的集电结压降在0.3V以下,远小于发光二极管的正向导通电压,所以发光二极管无电流流过不发光,则a、b两端电阻极大,相当于开关“断开”,故称“常闭”式。
可见,开关a、b端在电路中不受电位高低的限制,但在使用中应满足a端电位为正,b端为负,并使U&ab>3V为好,同时还应注意Uab应小于光电三极管的BVceo。
依据图46—4的原理,光电耦合器可以组成如图46—5中(a)、(b)等多种形式。

图46-5
图中(a)为单刀双掷开关电路,其中外接二极管D的作用,是保证输入正脉冲信号时“od”组接通,“ob”组关断。图中(b)为双刀双掷开关电路,无输入信号时,BG截止,“ob”与“od”组断开,“oa”与“oc”组接通;BG导通(即有信号输入时),“ob”与“od”组接通,而“oa”与“oc”组断开。它们适于自动控制和遥控设备中使用。
(2)光耦合的可控硅开关电路
图46—6中(a)所示电路为光耦合器构成的可控硅开关电路。可控硅SCR的触发电压取自电阻R,其大小由通过光电三极管的电流决定,直接由输入电压控制。该电路简单,控制端与输出端有可靠的电隔离。

图46-6
图中(b)所示电路,为控制负载为纯电阻(如白炽灯泡)的开关电路,图中R1的阻值由下式确定:R1=V/1.2A,1.2A为双向开关的额定电流。当主电网电压为220V时,V=/2·220=308V,则R1=308/1.2=250Ω.所以,可控硅SCR的规格应依R1的大小进行选择。
当开关电路的负载为感性负载(如电动机等),则由于流过感性负载(线圈)的电流与电压的相位不同,需增加相应元件,方能保证开关电路的正常工作,如图46?所示。
图中双向可控硅SCR的触发电流,是由R3与C的不同数值而决定的,见表46—1。
表46—1 IG、R3及三者关系表
/IG(Ma)/R3(kΩ)/C(μF)
/15/2.4/0.1
/30/1.2/0.2
/50/0.8/0.3/
图46—7的开关电路,特别适于遥控时选用。

图46-7
(3)用于双稳态输出的光耦合电路
图46—8中(a)所示电路,为光电耦合器控制的双稳态输出开关电路,它的特点是由于光电耦合开关接在两管的发射极回路上,故能有效地解决输出与负载间的隔离问题。

图46-8(a)
图46—8中(b)所示电路为光电耦合开关的施密特电路。当输入电压U1为低电平时,光电三极管C、e间呈高电阻,BG1导通,BG2截止,则输出电压U0为低电平;当输入电压U1大于鉴幅值时,光电三极管c、e间呈低电阻,则BG1截止,BG2导通,输出的电压U0为高电平。调节电阻R3,即改变鉴幅电平。

图46-8(b)
(4)电平转换电路
对于不同电平的转换电路或输入、输出电路的电位需要分开时,采用光电耦合器就显得十分方便了。
图46—9的(a)与(b)图示电路,就是5V电源的TTL集成电路与15V电源的HTL集成电路,相互连接进行电平转换的基本电路。

图46-9
图(a)中,TTL门电路导通时,即输出低电平,发光二极管导通,光电三极管输出高电平;TTL门电路截止时,发光二极管截止,光电三极管输出低电平。
图(b)中,则是利用TTL截止输出高电平,发光二极管导通,光电三极管输出低电平;TTL导通输出低电平,发光二极管截止,光电三极管输出高电平。
在进行具体应用时,因CMOS集成电路在低电平时的电流只有1~2mA,难以直接驱动所接的负载,故一般需加一级三极管放大电路来驱动。
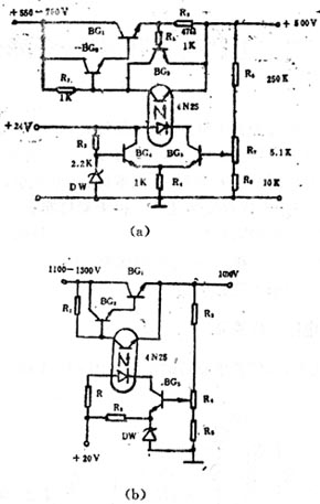
(5)高压稳压电路
串联型稳压电路,比较放大管需选用耐压高的三极管,若利用光电耦合器的输入与输出间绝缘良好的特点,便可实现高压控制。
图46—10中的(a)与(b)所示的电路,就是利用光电耦合器的高压稳压电路。

图46-10
图(a)中,当输出电压因某种原因导致升高时,则BG5的偏压增加,发光二极管的正向电流增大,使光电三极管集电结电压减小,即引起调整管BG1发射结电压下降,其集电结电压上升,从而使原来升高的输出电压减小,保持输出电压的稳定。BG3管为限流保护电路。光电耦合器是工作在放大状态的。图(b)的工作原理与图(a)相同。
网友评论