一、整机电路结构特性及电源电路组成与工作过程
(一) 整机电路结构特性
长虹 NC-2 机芯是我国长虹厂与东芝公司联合研制开发的彩色电视机机芯。整机采用 高性能、高集成度的具有多重主控能力的双向串行二线制数据总线系统,遥控控制与调谐系 统采用东芝 TMP47C1238AN 微控制器,是一高速、高功能、4 比特单片微处理芯片:它以 TLCS-470A 系列电路为基准,内藏屛幕显示电路、D/A 转换输出以及 A/D 转换输出电路, 进行频道数、音量、时间等文字或符号显示、红外遥控器信号发射用的 IC 采用东芝 TC9028P
/F 集成电路,其内部构成为 4 比特 MPU,可以由程序实现多样化的各种信号发射方式。
而 NC-3 机芯则是长虹厂与日本东芝公司研制的具有跨世纪超群性能的画中画大屏幕 彩色电视机机芯,整机的系统控制采用东芝 TMP47C1638 微处理器。整机各电路板所用集 成块及各集成块的结构功能如下:
(1)DY 板即电源、扫描及伴音功放板:NQ31 为 TA8427K(7 引脚)(场输出块);NQ48 采
用 uPC2412HF(3 引脚)(12V 稳压块);NQ60 采用 TA8218AH(17 引脚)(伴音功放器):NQ80 采用 PQ12RF1(4 引脚)(12V 稳压器);NQ85 采用 L78MR05FA(5 引脚)(5V 电压稳压器);NQ302 采用 TA8859P(16 引脚)(偏转几何校正电路);NQ826 采用 TLP621-GR(4 引脚)(光电耦合器);
NQ829 采用 TLP621 一 GR(光电耦合器)。
(2)ZB 板(主信号处理板):NQ501 采用 TA8783N(64 引脚)(视频/彩色/行、场扫描小信 号处理):NQE02 采用 CX2015(8 引脚)(黑电平延伸);NQS1 采用 TA8211AH(12 引脚)(环绕 声放大);NQTO1 采用 TA8814N(20 引脚)(彩色瞬态改善);H001 采用 EC815L(14 引脚)(FS 调 谐器);H002 采用 EC815L(14 引脚)(FS 调谐器);H003 采用 DAM111B(4 引脚)(射频信号分配 器);DQA1 采用 TM47C1638AU353(54 引脚)(中央处理器);DQA07 采用,uPC6252(8 引脚)(存 储器);DQB05 采用 TC4094BP(端口扩展)。
(3)PM 板即主图像通道板:NQ102 采用 TA8800N(24 引脚)(图像中放);NQ107 采用
TA78L009AP(3 引脚)(9V 稳压器)。
(4)PS 板即副图像通道板:NQl62 采用 TA8800N(24 引脚)(图像中放);NQ167 采用
TA78L009AP(3 引脚)(9V 稳压器)。
(5)LT 板即亮度处理板:NQL06 采用 TA78L009AP(3 引脚)(9V 稳压器);DGL10 采用
AN5342(30 引脚)(亮度锐度加强)。
(6)PL 板即梳状滤波器板:NQZ07 采用 TA7809S(3 引脚)(9V 稳压器);DQZO1 采用
SBX1765—01(30 引脚)(梳状滤波器);DQZ34 采用 CXA1686M(30 引脚)(时钟发生器)。
(7)BT 板即 AV 接口板:NQV01 采用 TA8777N(36 引脚)(AV 源开关);NQV05 采用
TA78L009AP(3 引脚)(9V 稳压器);NQG07 采用 TA8776N(30 引脚)(音频处理器);NQS12 采[Page]
用 M5218AP(8 引脚)(低通滤波器)。
(8)KZ 板即控制板:NQK01 采用 TA75558P(8 引脚)(演唱电平控制)。
(9)KA 板即卡拉 OK 板:NQK02 采用 TA5558P(8 引脚)(话筒放大器);NQK03 采用 TC4052BP(16 引脚) 模式状态选择);NQK04 采用 CXA1642(8 引脚)(歌声删除电路);NQ05 采用 TA7508P(14 引脚)(混频放大器),NQ06 采用 MN3208(8 引脚)(音频延时线),NQK07 采
用 MN3102(8 引脚)(时钟脉冲驱动器),NQ08 采用 M51131L(14 引脚)(话筒控制)F;QK9 采用
TA75558P(8 引脚)(话筒放大)。
(10)P1 板即画中画电路板;NQPl8 采用 TA8795F(60 引脚)(Y/C 信号处理);NQP33 采
用 LC7441(64 引脚)(画中画控制中心),NQP44 采用 LC7444(14 引脚)(双时钟发生器),NQP46 采用 AN5612(18 引脚)(色差/基色转换);NQP47 采用 AN5862(13 引脚)(信号转换开关); NQP48 采用 TC74HC4066F(14 引脚)(R、G、B 开关);NQP49 采用 TC74HC4066F(14 引脚)(字 符显示开关);NQP68 采用 L780S05FA(5 引脚)(5V 稳压器);NQP69 采用 PQ12RF1(4 引脚)(12V 稳压器);NQP78 采用 TA78L009AP(3 引脚)(9V 稳压器),DQP28 采用 μPC6325(16 引脚)(PIP 总线译码器),DQP29 采用 LC7480(24 引脚)(多路切换开关模/数转换器),DQP34 采用 MB8146—12RS(24 引脚)(存储器);VP05 采用 TA8777N(36 引脚)(视频开关)。
主电源电路设计新颖独特,并具有一般彩色电视机电源所没有的下列功能:(1)稳压电
路一改传统的频率或脉宽调制式为恒流驱动形式,使电源适用 90V 至 280V 的交流电压变化 范围;(2)增设了超低压限制电路,在交流电压低于 89V 时,电源振荡电路停振,以保护电 路开关管等元器件:(3)加设了加电延迟电路,在开机瞬间对电源开关管基极分流,避免开 关管受大电流冲击;(4)待机控制电路除控制电源输出端对负载的供电外,还控制电源振荡 频率。
NC-2/NC-3 机芯常见的彩色电视机机型有:长虹 C2588A、C2588P、C2589、C2918D、
C2919 及 C3418 等。
(二) 电源电路组成及工作过程
NC-2/NC-3 机芯的整个电源系统由振荡电路、稳压调控电路、自动保护电路(加电 定时延迟电路、超低压限制电路、过流保护电路),具体电路见图 8—2 所示(以长虹 C2588A 型机为例),恒流驱动电路及待机控制电路等部分组成。各部分之间的关系见图 8-1。


如图,该电路系自激振荡式并联型开关稳压电源,它能根据输入电压变动、负载变化自
动调整开关管的工作状态,使开关管的基极注入电流保持恒定值,实现宽电源控制,将电压 范围扩展到 90V 至 280V。各电路部分的具体工作过程如下:
1.振荡电路的工作过程
如图 8—2,振荡电路主要由 R828、R826、C820、C819、C824、VQ83、开关变压器 T803 的(5)至(1)、(7)至(9)绕组构成。R828 是启动电阻,C819、C820、T820、T803 的(7)至(9)绕组构成了振荡电路的正反馈支路,VQ83 为开关管,T803 的(5)至(1) 绕组为储能电感。
当电源开关 S801 接通时,启动电流通过电阻 R828 注入 VQ83 基极,VQ83 导通,形成[Page]
集电极电流。VQ83 一旦导通,T803 的(5)至(1)绕组有变化电流流过,便在其(5)至
(1)绕组两端产生感应电动势。通过 T803 耦合,在 T803 的(7)至(9)绕组产生感应电 压((9)端为正,(7)端为负)。该感应电压通过 R820、C819、C820 加到 VQ83 基极,VQ83 基极电位上升,基流 IB 增加,集电极电流 IC 随之增加。通过 T803 作用,又使 VQ803 的 基极电压 VB 继续上升,结果产生强正反馈连锁反应,VQ83 很快进入饱和状态。VQ83 从 截止到饱和时间极短,电容 C819、C820 上的电压来不及变化。VQ83 饱和后,C819、C820 开始充电,充电的方向为 T803(9)→R820→C819→C820→VQ83 基极。随着充电的不断 进行,C819、C820 两端电压将按指数上升。VQ83 基极电压将按指数下降。与此同时,T803 的(5)至(1)绕组中的磁化电流 IM 在增加,而 VQ83 基极电流 IB 在减小。在某一时刻, VQ83 的基极电流 IB 达到临界饱和,VQ83 退出饱和区进入放大区,VQ83 的集电极电流人 将向减小的方向变化,并在 T803 的(5)至(1)绕组产生与 VQ83 从截止到导通瞬间极性 完全相反的感应电势。通过 T803 耦合,在 T803 的(9)至(7)绕组产生(9)负(7)正 的感应电压,此感应电压进一步使 VQ83 基极电压下降,基极电流继续减小,这又是一个正 反馈的连锁反应,VQ83 很快截止。VQ83 截止后,储存在 T803 的(5)至(1)绕组中的能量 通过 T803 次级(12)至(14)、(15)至(18)绕组向负载泄放。然后由 VD830 和 C829、
VD832 和 C831 组成的整流滤波电路整流滤波,分别产生+5V、+12V、+30V、+18V、25V、
+115V 电压,作为整机电路的工作电压。
VQ83 截止后,储能电感(T803 的(5)至(1)绕组)向负载泄放能量的同时,C819、 C820 通过电阻 R828 放电,VQ83 基极负电压也在逐渐减小,但由于 R828 很大,因此 C819、 C820 放电很慢,VQ83 在储能电感向负载泄放能量期间保持截止状态。当储存在 T803 的(5) 至(1)绕组中的能量泄放完后,储能绕组电感与 C824 及电感中的分布电容产生谐振,在 T803 中产生振荡脉冲电压。在振荡脉冲电压超过 VQ83 的基极导通电压时,VQ83 再次导通, 又开始一个新的正反馈过程。至此,开关电源的一个振荡周期就完成了,开关电源就是这样 周而复始的产生周期性脉冲电压。
在开关调整管 VQ83 截止期间,T803 次级各绕组上产生的反电动势经整流、滤波、或
再经稳压器二次稳压产生各路输出电压。其中 T803 次级绕组(15)~(12)上的 340Vp—
p 脉冲电压经 VD82 二极管整流、C831 滤波产生行扫描电路所需 115V 直流电压;T803 的
(11)~(12)绕组脉冲电压经 VD88 整流、C854 滤波产生 10V 直流电压供画中画处理电 路,其(11)~(12)绕组脉冲电压经 VD86 整流、C860 滤波产生画中处理电路所需 16V 直流电压,同时 16V 直流电压经集成电子稳压器 NQ80 二次稳压得到主板电路所需 12V 电 压,12V 电压再经电子有源滤波器 VD861 稳压、VQ81 电流放大,得到主板部分电路所需
的 5V-2 直流电压:T803 的(17)-(16)绕组脉冲电压经 VD83 整流、C828 滤波产生环 绕功率放大器所需的+18V 直流电压;其(18)~(16)绕组脉冲电压经 VD89 整流、C827 滤波产生伴音功率放大器所需的 25V 直流电压,同时 25V 直流电压经带复位功能的集成电 子稳压器 NQ85 稳压得到 5V-1 电压,作为 CPU 的复位电压和待机工作时所需的 5V 电压,[Page]
25V 电压还经受待机/开机电路的控制并经电子稳压器 VQ871~VQ870 稳压后为行振荡电 路提供约 10V 直流电压。
2.稳压调控过程
该机芯的稳压调控电路由 VQ87、NQ826、VQ824、VQ822 组成。VQ87 为取样电路组 件,其任务是对电源输出的+115V 电压进行分压取样;NQ826 光电耦合器的任务是将 VQ87 所拾取的误差电压,以光电转换形式送到 VQ824 放大管,VQ822 为分流管,在 VQ824 的 驱动下对开关管 VQ83 基极进行分流。在电路设计上,在待机状态时 VQ87 不起作用,电源 工作于低频状态。稳压电路的稳压过程如下:
当电网电压上升而使+115V 电压上升时,VQ87 的(2)脚输出的取样电压下降,通过
VD825 使 NQ826 的(1)脚电压下降,NQ826 的(1)、(2)脚内接的光电二极管导通程度 增强,发光强度升高,导致的(3)、(4)脚内接的光电三极管导通电流升高,VQ824、VQ822 导通电流也随之增加,对 VQ83 基极的分流量增加,使 VQ83 导通时间缩短。电源输出稳定 的直流电压。
当负载电流增加而导致+115V 电压下降时,工作过程与上述过程恰好相反,最终也使电
源输出稳定的直流电压。
3.恒流驱动过程
该机芯的恒流驱动电路由 VQ820、VD820、C821、R822、T803 的(8)、(10)绕组组成。 该电路是使 VQ83 基极注入电流不受交流输入电压波动的影响,实现宽电源控制,将交流输 入电压的适应范围展宽到 110V 至 240V。
T803 的(8)至(7)绕组和(9)至(10)绕组绕制方向相反,其(8)端和(9)端为异名端,即(8)端和
(9)端的电压极性是相反的,(9)端的电压极性为正时,(8)端的电压极性则为负。
VQ83 截止期间,T803 的(8)端电压为正,(9)端电压为负。(9)端的负电压经 R823 加到 VQ83 基极,VQ820 截止。T803(8)端正电压加到 VD820 正极,通过 VD820 向 C821 充电, C821 充得的电压就成为 VQ820 导通时所需的工作电压。
VQ83 导通时,T803 的(8)端电压由正变负,(9)端电压由负变正。(8)端的负电压加到 VD820 正端,VD820 截止。(9)端的正电压经 R823 加到 VQ820 基极,VQ820 导通。VQ820 导通后,流过 VQ820 的导通电流不受交流电源电压波动影响,其大小只取决于电阻 R822 的大小。因此,VQ83 的基极注入电流同样不受交流电压波动影响,这就展宽了开关电源对 交流输入电压的适用范围,达到 110V 至 240V。
4.待机控制过程
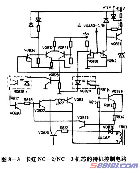
长虹 NC-2/NC-3 机芯当整机处于待机工作状态时,行扫描电路不工作,开关电源 在待机电路控制下,工作在低频间歇振荡状态。整机电路功耗较低,在 5W 以下。从电路结 构上看,其待机工作和常规工作(正常收看)共用同一电源电路。有关电路见图 8-3 所示。

如图,由 VQ836、VQ831、VQ834、VQ842、VQ841、VQ828、NQ829、VQ839、VQ871、 VQ870 等成待机控制电路。其中 VQ831、VQ841、VQ842、VQ828 用于控制电源振荡频率, 使在待机状态时,电源工作于低频振荡状态,115V 输出端电压变为+65V 左右,+25V 输出 端电压变为 8.5V 左右。VQ834、NQ829、VQ839 组成恒流驱动控制电路。其作用是在电视 机工作于待机状态时使恒流驱动电路停止工作,进而使稳压电路不工作。VQ834、VQ871、 VQ870 组成行振荡电路供电控制电路,在待机状态时,使行振荡电路停止工作。[Page]
(1)待机状态对振荡电路的控制过程
VQ841、VQ842 组成差动放大器。VQ841 基极接有固定偏置电阻,VQ842 基极通过电
阻 R859、二极管 VD859 接到+25V 输出端。在待机状态时,稳压电路是停止工作的,因此
25V 输出端的电压是变化的,VQ842 基极电压将随之变化。另外,待机状态下微处理器的(31) 脚输出待机指令+5V,VQ836 截止,VQ831 也截止。此时+25V 输出端输出的电压约为 8.5V。 若这个电压高于 9V、VQ842 的基极电压高于 VQ841 基极电压,VQ842 截止,VQ841 导通, VQ828 随之导通,其集电极电压下降,VD825 截止,VQ87 的(2)脚输出电压不能输送到稳 压电路。NQ826 的(2)脚电压受 VQ828 集电极电压影响而下降,NQ826 导通,VQ824、VQ822 导通,对 VQ83 基极分流、NQ83 截止,+25V 输出端电压下降。当这个电压下降到 6.5V 以 下时,VQ842 基极电压低于 VQ841 基极电压,VQ842 导通、VQ841 截止, 导致 VQ828、 NQ826、VQ824、VQ822 截止,开关管 VQ83 开始导通(VQ83 基极由启动电阻 R828 提供启 动电压),+24.5V 输出端电压上升。上升到 9V 以上时重复上述过程。这就是待机状态时+115V
输出端电压为 65V 左右,+25V 输出端电压为 8.5V 左右的原因。 电视机正常工作时,微处理器的(31)脚输出开机指令高电平,VQ836 导通,集电极输出
+5V 高电平:VQ831 导通,其集电极输出低电平,VQ842 始终导通、VQ841 始终截止,其 集电极输出低电平,于是 VQ828 截止、集电极输出高电平,使 VD825 导通,VQ827 的(2) 脚输出的取样误差电压输送到 NQ826 的(2)脚,通过 NQ826 作用于稳压电路,控制电路输 出端电压为设定值+115V 和+25V。
(2)待机状态对恒流驱动电路的控制过程
待机状态时,微处理器的(31)脚输出高电平+5V,VQ826 截止,VQ834 截止,其集电极 输出+5V 高电平,NQ829 导通,为 VQ839 提供基极通路。这样在 VQ83 截止期间,T803 的(8)端的正脉冲电压将通过 VD820、VQ839、VQ940 与地形成闭合回路,在 VQ839 发射极 电阻形成约 4V 的电压,不能满足 VQ820 工作条件,因此 VQ820 在 VQ83 导通期间不能进 入工作状态,也就无法向 VQ83 注入基极电流。
(3)待机状态对行振荡电路供电的控制过程
待机状态时,微处理器的(31)脚输出高电平+5V,VQ836 截止,VQ834 截止,VQ871
导通,VQ870 截止,切断电源对行振荡电路的+10V 供电,电视机处于待机状态。
5.自动保护电路的工作过程 该机芯的自动保护电路由过流保护电路、超低压限制电路、加电定时延迟电路、过压保
护电路及负载短路保护等组成,有关电路见图 8—2。
(1)过流保护过程 过流保护电路的作用是:当开关电源的输出端有局部短路,造成开关管电流大于正常工
作电流值时,对开关管基极注入电流,促使开关管由过流转为截止,保护开关管工作在最大 极限电流值以内,避免开关管因电流过大而损坏。
过流保护电路由 VQ825、R839、R833、R835 组成。VQ825 为过流保护管,R833、R835
为 VQ825 基极偏置电路,R339 为过流保护电路的过流取样电阻,开关管 VQ83 的电流主要 通过 R839 到地。[Page]
开关电源及负载正常时,流过 R839 的电流在 R839 上形成的压降经 R833、R835 分压 后,不足以使,VQ825 导通。VQ825 截止相当于过流保护电路处于开路状态。
开关电源或负载不正常,导致开关管集电极电流增大。接近或超出开关管最大极限电流 时,流过 R839 的电流在 R839 上形成的压降较高,经 R833、R835 分压后,VQ825 导通, VQ822 导通,VQ83 基极注入电流被分流,使得 VQ83 截止,避免了 VQ83 因电流超过最大 极限电流而击穿损坏。
(2)超低压限制过程
超低压限制电路由 R868、R869、R867、VQ832、R837 组成。
R868、R869 组成的电路为分压取样电路,对交流输入电压进行取样;R867 为隔离电 阻;VQ832 为放大管,对取样电压进行放大;R837 为 VQ832 的集电极负载,该电阻决定 VQ832 集电极电流的大小和超低压限制电路的响应速度。
超低压限制电路的作用是:当交流输入电压在 90V 以下时,使开关管截止;交流输入 电压在 90V 以上时,VQ832 的基极电压较高,VQ832 截止,超低压限制电路不工作。
交流输入电压在 90V 以下时,VQ832 的基极电压达到导通电压值而导通,VQ832 经 R837、R817 向 VQ824 基极注入电流,VQ824 导通,VQ822 导通,VQ83 的基极注入电流 被分流,VQ83 截止,开关电源的振荡电路停止振荡。
(3)加电定时延迟过程
加电定时延迟电路由 C833、R810、VD843、VQ821 组成。其中 VQ821 为控制管;R810、
R825、C833 组成延迟时间常数电路。具体工作过程是:
VQ83 截止期间,储存在 T803 的(5)至(1)绕组中的能量泄放完后,T803 的(5)至(1)绕组
和 C823、C824 产生谐振。如果 VQ83 在谐振电压最高点导通时,VQ83 集电极和发射极之 间接的电容(C823、C824)的放电电流(经 VQ83 集-射极间放电)将产生功率损耗,加电延时 电路将 VQ83 从截止到导通瞬间的时间延迟,即选择合适的时间使 VQ83 在谐振电压的最低 点导通,使其功率损耗减到最小。
VQ83 截止期间,T803(80 端的正电压经 VD843 向 C833 充电。VQ83 从截止到导通瞬
间,C833 上所充电压经 R810、R825 放电,使 VQ821 导通。VQ821 导通后,将 VQ83 基极 驱动电流分流,VQ83 便不会在谐振电压最高点导通,而要延迟一段时间在谐振电压的最低 点导通。与此相对应的是 C823、C824 放电电流减小,即功耗减到最小。
(4)过压保护过程
该机芯的过压保护电路主要由 VD821、VQ821 等组成。它与恒流激励电路一样,具有 双重保护作用:当交流市电在 90~280V 范围内时,它起开关调整管延迟导通作用。当开关 电路正常工作时,T803 的(8)~(7)绕组上的脉冲电压经 VD820 整流、C821 滤波后,用于控 制系统各三极管的直流工作电压和过压保护电路的取样。开关稳压电路正常工作时,C821 两端电压为+6V,此时 VD821 截止,VQ821 起开关调整管 VQ83 延迟导通的控制作用,以 减小 VQ83 导通损耗。当交流市电电压超过 280V 左右,或脉宽调制稳压系统电路失灵时, 开关稳压电路输出升高,T803 的(8)~(7)绕组上的脉冲电压增高,经 VD820 整流、C821 滤 波后的直流电压升高。当此电压升高至约 9V 时(VD821 齐纳击穿电压,稳压值为 8.2V), VD821 击穿,使 VQ821 基极电压增加而饱和导通,将 VQ83 基极与发射极短路,VQ83 停 振而开关电源无输出。待交流电压恢复正常或脉宽调制稳压系统控制作用恢复,开关电源才 能恢复工作。电路中 VD834 的作用是抑制脉冲尖峰,保护 VQ83 不被击穿。当开关电路受 电源通断影响产生不正常的高频冲击时,此电流在 T803 的(8)~(7)绕组上感应产生尖峰脉冲 电压,经 VD834 整流后,将使 VQ821 导通,VQ83 截止,从而保护了 VQ83 不被击穿。[Page]
(5)负载过载保护过程
为了防止某路电源电压负载电路出故障引起负载电流过大,不致于造成更严重的损坏, 除开关稳压电源本身具有过流保护作用外,还在该机芯供电电路中设有负载过载保护电路。 当某路负载电流过大时,过载保护电路起作用,立即使开关电源停止工作。该电路主要由 VQ836、VQ838、VQ470、VD474、VD471、VD361 及负载过载电流检测元件组成。各路负 载正常时,除 VQ836 外其余控制电路均处于截止状态。
a)115V 负载过载保护电路
当 115V 负载正常时,过载检测电阻 R470 上压降较小,VQ470 截止,115V 正常,为行 输出电路提供工作电压。当 115V 因行扫描输出级电路故障电流过大使 115V 过载时,R470 上的压降增加,使 VQ470 饱和导通,115V 经 R472、R477 分压使稳压二极管 VD475 齐纳 击穿而导通,可控硅 VD471 控制栅极注入电流而导通,5V-1 电压经 R892、R476 分压使 VQ836 正偏而饱和导通,VQ836 反偏而截止,VQ831、VQ834 截止,致使 VQ831 截止→ VQ842 截止→VQ841 导通→VQ828 导通→NQ826 导通→NQ824 导通→VQ822 导通→VQ83 截止。同时,VQ834 截止→NQ829 导通→VQ839 导通→VQ840 导通→VQ825 导通→VQ822 导通也使 VQ83 截止, 切断了 115V 输出。另外 VQ834 截止时,VQ871 导通,VQ870 截止, 切断行的振荡电路供电,无行/场激励脉冲输出,行场扫描电路也停止工作。负载过载保护 过程尤如开关电源待机工作过程一样,只是前者完全切断开关电源,而后者开关电源处在低 频间隙振荡状态。
b)场输出(27V)负载保护电路
场扫描输出级 27V 负载过载保护电路由 VQ360、VD316、VD471 等组成。当场扫描输 出级工作正常时,R364 上压降小、VQ360 截止;当场扫描输出级出故障而使 27V 负载过载时,流过 R364 的电流增大其压降增加,使 VQ360 基极电压降低而饱和导通,VD361 齐纳 击穿而导通、VQ471 导通,VQ838 导通、VQ836 截止,VQ834、VQ831 截止,同上述过程 使开关稳压电流停止工作,行扫描电路停止工作,无 27V 电压输出,场输出级也停止工作。 这样既保护了电源,也防止了故障继续扩大,不致因场扫描电路出故障而损坏行输出电路和 开关电源电路。
c)10V 电压负载短路时保护
当开关电源输出 10V 电压的负载短路时,VD864、VD865 导通,使 VQ838 基极电压降 低而饱和导通,VQ836 截止、VQ831、VQ834 截止,同前述过程,使开关稳压电源停振而 起到保护作用。
二、典型故障的检修流程及各单元电路检修技法
长虹 NC-2/NC-3 机芯电源电路的常见故障表现为各路输出电压异常,整机无光栅、 无伴音。具体检修流程见图 8-4 所示。

1.开关振荡及稳压调控电路的检修 由于该机芯开关稳压电源电路中设有各种保护电路,若保护电路不正常可能引起开关稳
压电路不工作,因此在对开关稳压电源基本功能检查之前,最好断开各种保护电路,以排除 保护电路不正常造成的电源不起振等。方法是:断开 R868 取消欠压保护功能;将 R838、 R839 短路或将 R833 断开取消过流保护功能,断开 VD821、R840 取消过压保护功能;将 R476 断开取消负载过载保护功能。然后断开电源负载,在 115V 端接入约 400mA 等效假负 载,使交流市电经调压器接入开关电源,并在 115V 输出端接一直流电压表,调节调压器使 交流电压缓慢上升,并监视开关电源输入电压,当交流输入电压在 90V 以下时,若 115V 指 示电压表已有电压指示(但较低),则证明开关电源已起振,正反馈回路基本正常,继续升高 交流电压,使 115V 电压表指示 100V 左右时交流电压停止增加,这时调 R851,观察电压表 指示能否为 115V,若正常说明开关电源脉冲宽度调制稳压系统电路工作正常;若随交流市[Page]
电逐步增加而 115V 亦逐步增加,这时应小心,可能开关电源脉宽调制系统有问题,应进行 检查,否则可能烧 VQ83 等。
开关振荡及稳压调控电路的检修应从+B 检测入手,正常时+B 为稳定的 115V。若为 0V, 则先检查整流滤波等电路;若大于 115V,则检查稳压调控电路;若小于 115V 很多,则检 查行输出电路或自动保护,具体步骤与方法见图 8—4。
2.待机控制电路的检修
待机控制电路出现故障会造成电源的输出端(+115V)始终为 65V 左右或总电源一接通就 达到 115V。如果总电源始终输出 65V 左右,首先断开 VQ828,若输出电压上升到 115V, 应查微处理器的(31)脚是否为低电平 0V。如果是 0V,可检查 VQ841,VQ842、VQ831,一 般来讲 VQ841、VQ842 容易损坏;如果微处理器的(4)脚是高电平 5V,应检查遥控系统。 如果总电源开关一接通,输出电压就为 115V,应首先检查 VQ828 的基极和集电极电压。
如果基极为 0V,应查 VQ841 是否开路、VQ842 是否短路、VQ831 及 VQ836 是否击穿。
3.自动保护电路的检修
过流保护电路中的 VQ825 击穿、R835 阻值变大或开路,均会造成开关电源的输出电压 下降,甚至无输出。R835 阻值变大,虽然会造成 VQ822 集电极负载加重,电流下降,但只
要 VQ822 导通就能对 VQ83 集电极产生分流。VQ83 基极电流很小,只要有分流就能对开 关电源工作频率产生大的影响。在检修时可通过接入 R833 或去掉 R839、R838 短路线,恢 复过流保护电路,这时开关稳压电源应能正常工作。
三、疑难软故障检修经验
实例 l 长虹 C2588A 型机无光、无声,电源指示灯亮
故障表现:一台长虹 C2588A 型 25 英寸彩色电视机,插上电源开机后,电源指示灯发 亮,但主机不能开启,整机无光栅、无伴音。
故障分析及检修:由该机的电路结构特点可知,电源指示灯发亮说明其整流滤波电路无 问题,应重点检查主开关稳压电源的稳压调控电路或行输出电路。拆开机壳测开关电源+B 端电压(+115V)只有 40v,+24V 输出端电压仅 7.5V,且主电路板电源部分有“吱、吱”声。 断开电阻 R444;并在+B 端接上 200w 灯泡作假负载,开机观察灯泡微红且闪烁,由此判断
开关电源有 故障,应重 点检查电源 的稳压电路 部分。经检 查,稳压误 差放大集成 块 VQ827(S1854)的(2)脚电压只有 0.8V,且波动,而正常工作时其(2)脚电压应为 100V 左右, 且应跟随+B 端(+115V)电压而变化,故怀疑 VQ827 已损坏,更换后试机一切正常。
实例 2 长虹 C2588A 型机自动关机
故障表现:一台长虹 C2588A 型 25 英寸彩色电视机,刚开机时正常,但收看电视节目 约半小时出现自动关机故障,再按遥控开机键又能工作数分钟.然后自动停机。
故障分析及检修:由故障判断,该机的主开关电源电路有元件热稳定性差。出现故障时 电源开关变压器 T803 有“吱、吱”叫声,测+115、+24V 电压输出均偏低,怀疑电源负载 较重,有短路或漏电故障。
断开 L826 接上 600Ω/50W 假负载,电源均恢复正常。说明故障出在+115V 电源负载 部分。复原 L826,断开 R444 并拆下假负载,再断开 R329 和 R416,开机测+115V 仍偏低, 故怀疑 C446(33μF/220V)不良。经检查该电容顶部冒包,用手触感觉烫手。换新后,拆除 假负载复原原电路试机,故障排除。[Page]
实例 3 长虹 C2588A 型机红灯亮,但无光、无声
故障表现:一台长虹 C2588A 型 25 英寸彩色电视机,插上电源开机后,电源指示灯发 亮,但主机不能开启,整机无光栅、无伴音。
故障分析及检修:按照实例 1 的检修思路,拆开机壳测主开关稳压电源的+B 端主电压 只有 60V,+24V 输出端电压只有 8.2V,这与待机状态时的电压值相似。用遥控器开机,主
电压升至 65V,表明微处理器已发出开机指令,故障在遥控开关机控制电路的可能性较大。 测遥控开关机控制管 VQ836、VQ842 基极电压为 4.5V,正常,这时两管均应饱和导通,两 管集电极电压应降为 0.3V,但测得 VQ842 集电极电压却为 7.5V,由此导致 VQ833 截止, 而电源不能启动。经检查,VQ842(RN1201)的 C—E 结开路。换新后试机,故障排除。
实例 4 长虹 C2588P 型机行扭之后“三无”
故障表现:一台长虹 C2588P 型 25 英寸彩色电视机,据用户介绍说,该机在收看过程 中,出现图像行扭,并无彩色,屏幕两边有各一个半圆黑区,随之整机“三无”。
故障分析及检修:这是一例综合性的故障,其原因有;(1)电源与行扫描电路损坏:(2)
枕校电路不良,(3)电路中有虚焊。
拆开机盖检查,发现 4A 保险丝已烧断,电解电容 C809(330uF/450V)爆裂,行管击穿。 换之,图像彩色正常,屏两边仍有半圆黑区,测枕校电感 L415 端电压为 38.5V,观察 L415 外壳开裂。换新电感后,屏边黑区消失。鉴于有时出现行扭、无彩色故障(仔细看实为彩色 水平拉丝),故仔细检查有无脱焊元器件。经查,R452、R352、R253 开焊,NQ85 连接线处
(1)脚印制板有断裂痕迹。焊好后整机恢复正常。
实例 5 长虹 C2588P 型机无光、无声,红灯亮 5 秒后熄灭
故障表现:一台长虹 C2588P 型 25 英寸彩色电视机,接通电源开机后,电源红色指示 灯发亮,但约 5 秒钟后自动熄灭,整机无光栅、无图像、无伴音。
故障分析及检修:这类故障应重点检查其电源电路和自动保护电路。经检查,系+B 电 压升高为 140V 及其他各组电压也相应升高,而处于保护状态所致。+B 电压升高的原因一 般是稳压电路工作失常造成开关管 VQ83 导通时间过长而使 T803 次级电压升高之故。本机 稳压电路是由 VQ827 取样组件、NQ826 光电耦合器及 VQ824、VQ822 等元件组成,VQ827 对+B 端(115V)电压进行分压取样,通过 NQ826 将 VQ827(2)脚输出的误差电压以光电转换 形式去控制 VQ824、VQ822,进而对开关管 VQ83 基极注入电流进行分流。当+B115V 电压 升高时,VQ827(2)脚输出的取样电压下降,NQ826 的(1)、(2)脚内接的光电二极管发光强度 增强,其(3)、(4)脚内接的光电三极管导通电流增大,VQ824、VQ822 导通电流也随之增加, 对开关管基极的分流量增加,使 VQ83 导通时间缩短,从而使开关电源输出端电压趋于稳定。 当开关电源负载电流增加导致+B 电压下降时,其工作过程与上述相反。根据上述分析检查 稳压电路各元器件,发现 NQ826 的(3)、(4)脚的电阻值仅为 40kΩ 左右,且 R824(56Ω)开路。 更换这两元件试机,故障排除。
实例 6 长虹 C2589 型机红灯常亮,无光、无声
故障表现:一台长虹 C2589 型 25 英寸彩色电视机,开机电源红色指示灯常亮,但整机[Page]
“三无”。
故障分析及检修:由该机电路结构特点判断,故障部位在其+B 主负载-行扫描电路。 拆开机壳,检查开关电源电路输出的+115V、+24V 电压正常。直观检查行扫描电路有关元 件,未发现冒烟及烧焦现象,测显像管加速极电压及视放输出级的+190V 电压等均为 0V, 显像管灯丝亦不亮,故判定行输出级未工作。继续查行激励电路,发现激励管 VQ402 集电 极电压为 0V,而其集电极电阻 R416 输入端+115V 正常,故判定 R416 开路。再查行激励级 有关元件,未发现短路或开路。于是换上一只 5.6kΩ/5w 水泥电阻试机,故障排除。
实例 7 长虹 C2919P 型机开机后整机“三无”(一)
故障表现;一台长虹 C2919P 型机 29 英寸彩色电视机,开机后,整机无图、无声;无 光栅,电源指示灯不亮。
故障分析及检修:这类故障应重点检查其电源电路。拆开机壳,直观检查保险管 F802, 被烧坏,查电源开关管 VQ83 也损坏。
分析 F802 熔断、VQ83 击穿是故障现象,而不是故障原因。F802 熔断是 VQ83 击穿引
起,而 VQ83 损坏则是其它电路出现故障所致。故首先应查出 VQ83 损坏的原因。否则,若 仅更换 VQ83 及 F802 后即开机,很可能会再次烧坏 VQ83 和 F802。从前面的电路解析中可 知,VQ83 损坏的主要原因有:交流市电电压过高、且过压保护电路失效;脉宽调制稳压系 统出现故障。因故障发生时交流市电电压在正常变化范围内,因此输入市电电压过高、过压 保护电路失效引起的可能性小。问题极可能出在脉宽调制稳压系统电路。查由 VQ87、NQ826、 VQ824、VQ828 组成的脉宽调制稳压系统,发现 NQ826 的(3)、(4)脚开路。故取样误差放大 器输出的误差控制信息不能经 NQ826 传送至 VQ824、VQ822,使 VQ83 导通时间增长而损 坏。更换 NQ826、VQ83 和 F802 后,开机,电源恢复正常工作。
实例 8 长虹 C2919P 型机开机后整机“三无”(二)
故障表现:同实例 7。
故障分析及检修 拆末机壳检查,发现 F802 熔断、VQ83 损坏。分析故障原因最大可 能是脉宽调制稳压系统失效,使 VQ83 失控所致。进一步检查,系 VQ825 的 C—E 极间短 路、VQ822 开路。更换损坏件故障排除。
实例 9 长虹 C2919P 型机开机后整机“三无”(三)
故障表现:同实例 7。 故障分析及检修:拆开机壳检查,发现保险管完好。说明机内无严重过流故障。通电测
开关稳压电源各次级均无输出电压。直观察看,开关电源部分未发现明显烧坏元器件痕迹。 分析故障原因主要有:开关稳压电源输入控制电路出故障;开关稳压电源无自激振荡; 开关电源保护电路动作;负载过载保护电路起作用,及微处理器的 ON/OFF 输出不正常等。 对此应首先检查 VQ83 集电极有无约 300V 直流电压,若有,检查振荡电路是否正常;若无, 应检查开关电源输入控制电路。若输入控制电路和开关电源自激振荡电路均正常,则应检查 各种保护电路是否动作。若保护电路动作,则应逐步断开各保护电路观察。本例故障经查 VQ83 集电极无 300V 直流电压,全桥 VD81 无 220V 交流输入,但查 T802 的(4)、(1)两端有
220V 交流市电,由此判断是 R822、R871 断路所致。关机测 R871、R882,发现 R822 开路。 将其更换后,故障排除。[Page]
实例 10 长虹 C2919P 型机开机后整机“三无”(四)
故障表现:同实例 7。 故障分析及检修:开机后直观检查,保险管未损坏。机内也无明显烧焦元件。于是通电
检查,测得开关稳压电源 115V 端输出仅为 4V 左右,测 VQ83 集电极有 300V 直流电压, 分析很可能是保护电路动作所致。经检查发现 VD471 导通,说明负载过载保护电路动作。 进一步检查,发现 S 校正电容 C423 击穿短路,换新后故障排除。
实例 11 长虹 C2919P 型机开机后待命灯亮,但整机“三无”
故障表现;一台长虹 C2919P 型机开机后整机“三无”,但面板上的待命指示灯发亮。 故障分析及检修:这是不能二次开机的故障。从前面的电路解析中可知,这类故障的
主要原因通常有二:
一是负载过载保护电路动作所致。当可控硅 VD471 因某种原因导通时,VQ838 导通、 VQ836 截止,此时开关稳压电源处于保护停振状态, 若不排除负载故障,则开关电源就不能 二次开机。这种故障的原因可能是:行电流过大而导致 115V 过载保护,这时 115V 输出小
于 10V,应重点查行输出级电路;场输出电流过大而导致+27V 过载保护,重点查场输出级 电路;13.9V 电压过载保护,重点检查扫描速度调制放大电路;10V 输出电压负载短路引起 过载保护,应重点查画中画处理电路,+5V 一 2 稳压、负载电路及 10V 电压整流滤波电路。
第二是微处理器故障引起不能二次开机。此时开关电源始终处于待机状态,115V 输出
65V 左右。因该机开关机稳压电源的待机/开机受微处理器的(31)脚输出的 ON/OFF 开关 机控制信号的控制,待机时微处理器的(31)脚输出高电平,开机时微处理器的(31)脚输出低
电平。出现此故障时。可按遥控器上的电源开/关键。或电视机面板上的节目选择键,测微 处理器的(31)脚是否为低电平。若微处理器的(31)脚始终处于高电平,则为微处理器损坏; 若微处理器能输出低电压,则可能是开关电源待机控制电路出故障,应重点查 VQ838 是否 击穿 VQ836、VQ831、VQ842 是否开路,VQ841、VQ828 是否短路及 NQ826 是否正常等。
若 115V 输出为 80V 左右而不能二次开机.则应重点检查 NQ829、VQ839、VQ840 等。经 反复检查,发现故障系光电耦合器 NQ829 损坏所致,换新后故障排除。
实例 12 长虹 C291D 型机收看 10 分钟左右自动停机
故障表观:一台长虹 C291D 型彩色电视机,刚开机时工作正常,但收看约 10 分钟后突 然声、光皆无。每次开机皆如此。
故障分析及检修:该故障部位可能在电源或行扫描电路。当故障表现时,测+B 电压仍 然是 115V,其它电压也正常,故认为电源电路基本正常。再开机,发现圆型标准测试卡偏 大,但不散焦,测灯丝电压 5.2V(偏高),+180V 也偏高,即所有利用行逆程脉冲产生的电压 均偏高。测 TA7698AP 的(30)脚(X 射线保护脚)的电压为 0.8V(正常值 0.6V), 且不稳,并有 逐渐上升之势。若(30)脚电压升至 1V,就发生行停振,此时声、光全无。用示波器观察行 输出管 VQ408 集电极上的+B 电压中含有 50Hz 的的交流成分。查整流电源的滤波电路,发
现 C446 容量只有 20u(标称容量为 33μ/200V)。换一个 47μ/250V 的电容,该故障排除。[Page]
网友评论