概述:XC6601采用USP-6C、SOT-25、SOT-89-5封装。

内置N沟道FET, 可输出400mA的高速LDO电压调整器。即使是低输出电压也可通过超低导通阻抗高效地输出电流。该系列适用于低输入电压以及要求低输入输出电压差的应用。

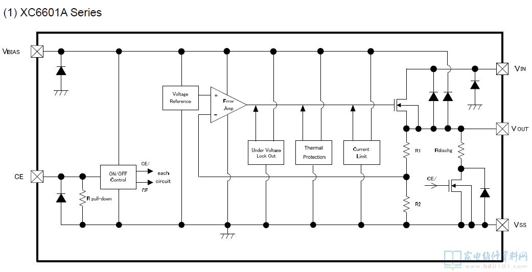
XC6601系列内部由基准电压源, 误差放大器, 驱动三级管, 定电流限制电路, FOLD-BACK电路, 过热保护电路(TSD), 欠压锁闭电路(UVLO)和相位补偿电路组成。

 
通过激光微调技术,输出电压范围是0.7V~1.8V,0.05V间隔设定。输出电容(CL)可使用低ESR类型的电容。

当输出电流达到限制电流或者结温度达到限制温度的时候,过流保护电路(定电流限制电路, FOLD-BACK电路)和过热保护电路(TSD)就会工作,起到保护IC的作用。

当VBIAS和VIN端子之间的电压比UVLO电压低的时候,电压调整器的输出就会被关断。

在CE端子输入低电平的时候,IC进入待机模式,消耗电流会大幅减小。同时,进入待机模式的时候,输出电容(CL)上的电荷可通过VOUT端子和VSS端子之间的内部开关释放,使电压快速返回到VSS电平。


一、XC6601引脚功能


二、XC6601内部方框图


三、XC6601典型应用电路